STUDIO DI CONSULENZA TECNICA IN CAMPO GIUDIZIALE
Geom. Massimiliano Fantino
P. IVA: 00967510058
Via Emanuele Filiberto n.2
14100 Asti (AT) - Italy
Tel: (+39) 0141 351249
massimiliano.fantino@gmail.com
Cookie Policy - Privacy Policy

Il nostro canale Youtube
Geom. Massimiliano Fantino @ 2025 All Right Reserved
Accertamento delle violazioni di norme codicistiche e regolamentari nei rapporti di vicinato
Supporto tecnico alle procedure legali e ai rapporti di vicinato
Lo Studio svolge attività di accertamento, rilievo e descrizione tecnica delle violazioni di norme codicistiche e regolamentari che disciplinano i rapporti di vicinato.
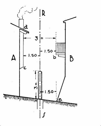
L’analisi è finalizzata alla verifica del rispetto delle distanze legali tra costruzioni, delle distanze dalle vedute e dalle luci, delle distanze dalle piantagioni, dagli scavi, dai fossi, dai tubi, nonché dalla corretta collocazione di depositi e manufatti rispetto ai confini.
La documentazione prodotta — composta da rilievi, fotografie, elaborati tecnici e valutazioni normative — è idonea alla tutela delle parti in sede giudiziaria o stragiudiziaria.


Gallery Foto e Video
Album di immagini e di alcuni video che potete trovare sul nostro canale Youtube.